精密电流互感器的基本简介
发布时间:2018-07-27
浏览数:239
精密电流互感器主要适用于电力、计量、厂矿、研究单位以及试验室等,用于电流量值传递、精密电流测量,也可作为标准用来检定电流互感器等设备。国电中星是电力检测设备生产厂家,生产并销售数百台精密电流互感器,本节中为大家简单介绍精密电流互感器的基本情况。

结构
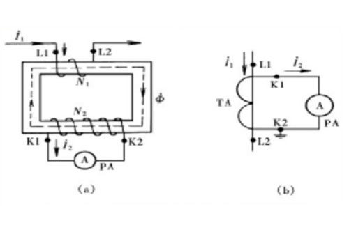
精密电流互感器是由一次绕组和二次绕组组成,电流互感器接被测电流的绕组,称为一次绕组(或原边绕组、初级绕组);接测量仪表的绕组称为二次绕组(或副边绕组、次级绕组)。其原理如图1(a),接线时严格参照接线牌所给出的电流比进行接线,如图1(b)。L与K分别是一次、二次绕组的极性端。

图1
用途
精密电流互感器的用途是作为标准来检定比其低两级或两级以下准确等级的电流互感器、电流表、电能表和功率表,也作为扩大量限装置,用来精密测量电流、电能和功率。
自校
若精密电流互感器有1/1电流比时,则可经常进行自校,以考核其精准度。自校线路如图2。To为标准电流互感器,Tx为被检电流互感器,Z为被检电流互感器所带的负荷。

图2
检定
精密电流互感器检定比其低两级及以下准确等级的互感器时,线路如图3。

图3
国电中星生产的ZXHL系列精密电流互感器是便携式,不带升流器,体积小,重量轻,适用于现场,HLS系列精密电流互感器自带升流器,接线简便,适用于实验室。国电中星生产多种类型的精密电流互感器,规格齐全,欢迎咨询订购!
上一篇:微水测量仪的工作原理
下一篇:精密电流互感器的工作原理
027-65526006
027-65526007
在线客服